欢迎来到沃能渡车配网官网!
网站地图
关于我们
网站首页
行业新闻
产品推荐
新车上市
汽配知识
关于我们
当前位置:
主页
>
行业新闻
行业新闻
奔驰高端豪华车在印度市场销量强劲
168
行业新闻
2026-01-28 01:01:24
安大略省省长反对加拿大降低对华电动汽车关税
151
行业新闻
2026-01-28 01:01:20
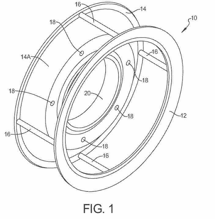
通用汽车申请非充气车轮设计专利
120
行业新闻
2026-01-28 01:01:17
瑞士科学家研发可回收环氧树脂 或可用于汽车零部件
415
行业新闻
2026-01-28 01:01:14
伟世通携手TomTom推出全球首款车载本地AI导航系统
495
行业新闻
2026-01-28 01:01:11
首页
上一页
203
204
205
206
207
下一页
末页