欢迎来到沃能渡车配网官网!
网站地图
关于我们
网站首页
行业新闻
产品推荐
新车上市
汽配知识
关于我们
当前位置:
主页
>
行业新闻
行业新闻
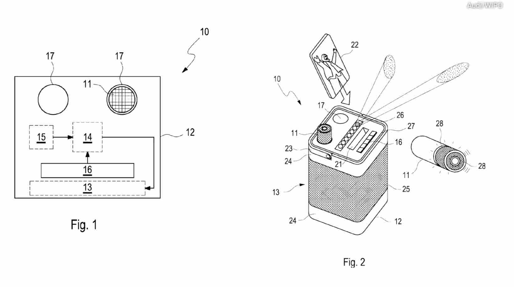
奥迪申请车载卡拉OK模块 实现边走边唱
50
行业新闻
2026-01-28 12:06:15
CES 2026: STRADVISION与AMD联合演示多摄像头感知软件
413
行业新闻
2026-01-28 12:06:13
Seeds | 未来不远完成2亿元天使轮融资
288
行业新闻
2026-01-28 12:06:10
Seeds|自变量机器人获字节、红杉等10亿元投资
207
行业新闻
2026-01-28 12:06:05
【国际快讯】瑞银:中国车企未来5年将在全球占据三分之一份额;传吉利考虑进军美国市场;宝马集团2025年销量逾246万辆
366
行业新闻
2026-01-28 12:06:04
首页
上一页
176
177
178
179
180
下一页
末页